创意素描图片 - 堆糖,美图壁纸兴趣社区

相关图片

创意素描临摹图片 创意素描临摹图片儿童

创意素描临摹高清图片 创意素描临摹高清图片动物 | 多想派

创意素描画.创意素描临摹图#创意素描 #创意素描课程 #创意 - 抖音

创意素描|你好呀,小怪兽_ryniak

素材| 创意素描临摹作品,超可爱的大眼萌小怪兽!_素描_作品_怪兽

随机推荐

倪妮时尚白色休闲衬衫和半身裙套装 扎起头发搭精致妆容优雅别致

赵露思饰演的李乐嫣和刘宇宁饰演的"冷面杀手皓都,他们俩剧中的人设

情侣头像丨甜到爆二次元情侣头像

男生轻微纹理烫换个纹理发型感觉帅多了

祛痘膏中药祛痘膏祛痘印修复痘坑粉刺学生青春痘收缩毛孔中药产品

结婚照白衬衫登记照可刺绣白色长袖衬衣定制证件领证服装衬衫 男纯白

《燎原》精彩剧照!#演员 #沉浸式话剧 #话剧燎原 - 抖音

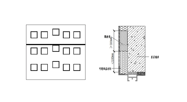
04 防火隔离带设置位置示意图