手绘固体胶

相关图片

胶棒图标

胶棒简笔画图片

卡通双面胶简笔画

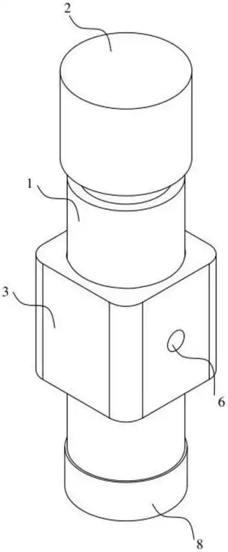
一种耐用的固体胶-爱企查

卡通手绘固体胶免抠元素

随机推荐

西装西服证件照身份证一寸照片模板免抠图片影楼照相馆正装人物海报

红夫人 【血宴】 原来王后 是.

24年即将爆火的古装剧

你喜欢这样的卡通女孩头像吗?93

典藏回合刀塔英雄2win一键既玩服务端安卓苹果双端运营后台站长亲测

欢庆的锣鼓敲起来—温塘村飞天凤鼓队元宵节盛装表演

三种犬设满足你的需求:阳光忠犬大金毛——张光正外刚内怂哈士奇

刀塔传奇冷门英雄黑鸟怎么样黑鸟技巧解析图