exo首尔三大炮啊

相关图片

【首尔三大炮】吴世勋边伯贤朴灿烈_哔哩哔哩 (゜-゜)つロ 干杯~-bili

鹅鹅鹅 首尔三大炮

吴世勋 #金钟仁 #朴灿烈 #首尔三大炮

exo #首尔三大炮 #朴灿烈 #吴世勋 #金钟仁

06]首尔三大炮顶跨图_路过

随机推荐

促假发套女全头逼真中老年假发女短发真发圆脸妈妈假发真头发全品

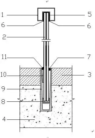
摘要附图摘要本实用新型揭示了一种无框玻璃栏杆,包括:钢化玻璃,地槽

来源于欧美其实就是挑出部分进行挑染漂,剩余头发染深棕色 由于小姐姐

游元大都遗址公园,北土城东段

这一次31岁的迪丽热巴,以这样的方式"塌房"了

虞书欣居家丸子头发型

微卷中长发烫发发型今年冬天头发这样烫美的刚刚好

清爽明朗且充满朝气的自杀太宰治