更换刹车软管要同步更换刹车油吗?

相关图片

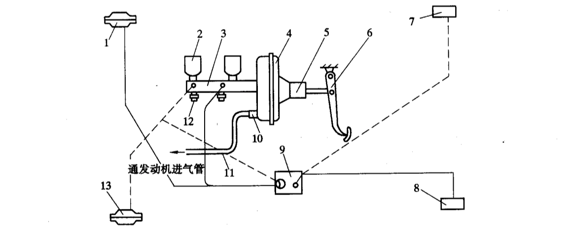
二,画出图示制动机构的运动简图,计算其自由度,并说明其省力的原理.

4. 刹车系统

合肥工业大学合肥工业大学机械原理2004考研试题研究生

刹车系统有哪些组成刹车系统的组成

毕业论文汽车制动系统故障诊断[1]-2

随机推荐

《爱的阶梯》大结局回顾 路风乐美成亡命鸳鸯

分享照片 - 朴灿烈女友 - 抖音

梦幻蓝色海底世界高清水母唯美桌面壁纸第二辑

郭俊辰

undertale传说之下精美人物图包napstablook篇

男士渐变纹理烫发发型

范丞丞王安宇出路透,已有大量cp站出现,这能押中下一曲陈情?

在车上出示证件享受优惠待遇," 司机没法验证出武警证件的真伪,但跟他