户外不锈钢柴火炉便携折叠炉圆形烧烤野营柴气炉野餐野炊地灶炉子

相关图片

农村无烟柴火灶设计图纸4款农村柴火灶台设计图欣赏

2,通风道的设计通风道是指炉篦以下的空间.

自制气化柴炉全过程

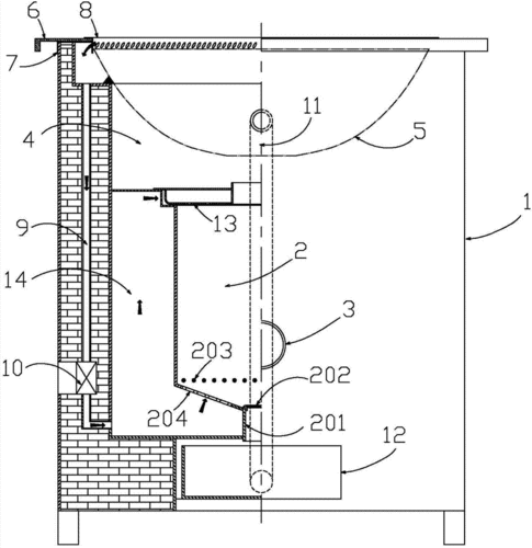
一种柴火集成灶制造技术

河南不锈钢柴火灶厂家

随机推荐

肖战头像

冷梯度线绘制卡通万圣节尖牙

鞠婧祎三月视频更新,科技感十足的眼镜,好有ai女友那味儿__财经头条

先后师从于希宁,王企华,李振才,史振峰,张洪祥,杨元武诸教授,主攻国画

斗罗大陆:唐三即将获得第五魂环,没成想竟收到妈妈的召唤,阿银真的没

中电颐和家园114.96㎡面积11496m户型

伽柏称佩泉身价飙升广告费80万.白小白为青少年

亲们,今天给大家带来一组超级炫酷的动漫风微信头像!