鞋子立面手绘黑白线条简笔画

相关图片

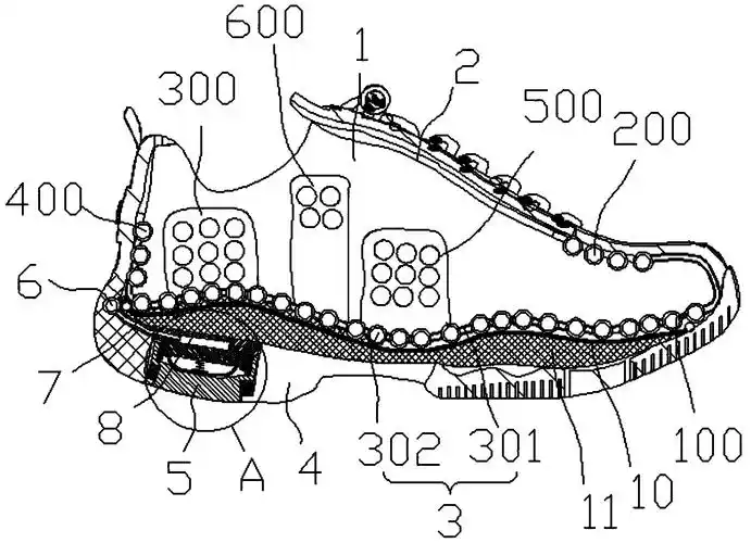
一种鞋垫及具有鞋垫的鞋子的制作方法

原创鞋子立面手绘黑白线条简笔画

鞋类设计草图欣赏

鞋类设计草图欣赏

鞋子,草图,绘画插图,时尚,矢量矢量图素材_id:348806506

随机推荐

小众款loewe壁纸 喜欢罗意威的logo设计 很别致特别 #罗意威# #loewe

理论政治建军是我军的立军之本

马嘉祺"上课照"被传,穿蓝色校服趴在桌子上,这颜值真实存在?

44岁刘涛在在海外拍大片,用美貌争光!穿抹身材露小腹,造型封神_的设计

win7动态清秀山水画,高清图片,系统壁纸,win7-回车桌面

脸上的毛孔粗大的原因是什么?该如何收缩毛孔

恨天高高跟鞋超高跟二十厘米钢管舞厚底20cm超高跟凉鞋性感模特舞台

不懂风衣就别乱穿掌握搭配窍门优雅从容具有高级感