图源网络剧版棋魂1评论4更多

相关图片

图集| 一波围棋头像-棋魂篇

图集一波围棋头像棋魂篇

棋魂

我们之间永远不会有结局一波围棋头像之棋魂篇

棋魂

随机推荐

帅气男生头像动漫古风

佟丽娅晒父子照为陈思诚庆生

陈坤和老婆结婚照,陈坤老婆何琳资料照片

相信大家都异口同声地说出同一个名字,那就是"肖战"

梦幻星空唯美高清桌面壁纸

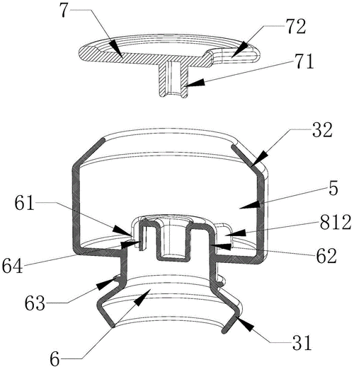
一种电饭煲排气阀的制作方法

锅盖头发型潮流汇痞帅男人味

傍晚街道|摄影|风光摄影|清平么么哒 - 原创作品 - 站酷 (zcool)