赵露思,周也等多位95后剧女星爆红之后,近期也开始有越来越多新生代

相关图片

95后新生代女演员刘玮婷清新写真曝光气质纯净笑容治愈引关注

《你是我的永恒星辰》开机:新生代小花田爽演绎"废柴95后"的逆袭

十位95后新生代女演员,谁最美?_资源_作品_观众

95后小花竞相绽放新生代演员又一片花海你期待吗

95后新生代女演员阮巨一席淡紫色纱裙亮相费加罗风尚盛典红毯

随机推荐

roy6壁纸系列,真的都好好看啊!_水印

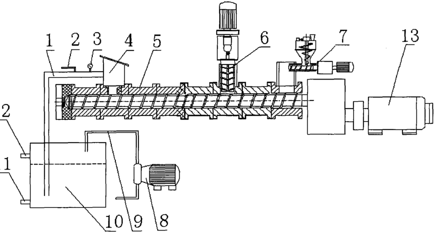
cn101954731a_一种双螺杆挤出机失效

王一博开始录制这就是街舞4啦一波王炸

其实要说浪漫,中国人简直甩出法国人好几条街,一年情人节就十几个

男生韩式微分碎盖 女生眼中的男友发型_韩式男发 - 美发站

准备步行上学的两个年轻的小女孩照片-正版商用图片1d1rqq-摄图新视界

短发图片女2021新款学生,剪出校园风格短发_发型造型_宝妈时尚生活网

逐帧手绘循环动画|动漫|网络表情|小熊猫与大熊猫 - 原创作品 - 站酷