5,燃烧充分:二次燃烧设计,没有经过彻底燃烧的固体燃料会产生气体

相关图片

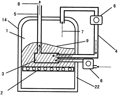
预混式二次燃烧设备原理图

何为壁炉的二次燃烧

口加到炉膛内的炉篦上,通过一次风道点燃颗粒燃料,待颗粒燃料燃烧后

燃烧设备加热装置的制造及其应用技术

农村无烟柴火灶设计图纸4款农村柴火灶台设计图欣赏

随机推荐

【#看mv听歌系列#】周杰伦《七里香》official music video窗外的麻雀

鞠婧祎明星壁纸(61)_网易订阅

克拉克拉-应用截图

冷门歌手孙燕姿被"偷拍",素颜出镜白到发光,豪放坐姿引争议

恐怖笑脸密室逃脱道具鬼娃娃美女鬼新娘面具剧本鬼屋装饰头套鬼娃带

海边风景图片

obride春夏新款鱼尾婚纱礼服梦幻紫色一字肩修身披肩演出服敬酒服

但凡有一张不好看,请举报我#唯美古风壁纸 #仙气十足 #做个美美的小