日系动漫人物动作动态线稿描绘 手绘速写美术临摹参考资料素材

相关图片

图片评论 0条 收集 点赞 评论 人物线稿黑白动漫素材手绘 0 3 我

日韩风格漫画动漫角色人物手绘线稿图片高清素材下载16gb

手绘可爱男孩插画图片素材(psb格式)免费下载_动漫人物大全-我图网

手绘卡通戴眼镜女生免抠素材免费下载_觅元素51yuansu.com

夏日可爱猫咪与西瓜卡通手绘

随机推荐

微信头像图片2021最新款 可爱微信头像 - 抖音

动漫图片:高清可爱女生动漫人物图片13p_高清图集_新浪网

李易峰吴昕公开承认恋情? 李易峰承认与吴昕交往?

高颜值寸头卡通男头像_微信头像图片大全

箭扣长城…最原始的野长城.#漂亮原创摄影 - 抖音

技修客汽车维修保养_电话地址_营业时间-北京美团网

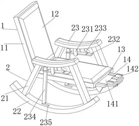
一种多功能简易摇椅的制作方法

世界上最震撼的28个自然奇观,地球太不可思议了!