一种具有安全保护组件的轮辋的制作方法

相关图片

文档下载 所有分类 工程科技 机械/仪表 > 轮毂结构图偏 距 轮辋中心

一种具有安全防护功能的轮辋机构的制作方法

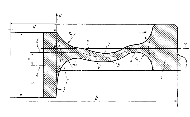
车轮辐板截面轮廓曲线中央纵 轴线的直线段在轮辋一侧与由表达式y=-0

前悬轮毂轮辋您知道的汽车词汇常被误用

轮辋,轮辐,轮缘分别指车轮的什么部位?

随机推荐

看看谁才是你心中的"旗袍女神"吧!

原始土著人简笔画

qq头像情侣一左一右卡通qq头像卡通情侣一对

渐变美甲

麻麻们,新款女童夏季套装来啦,这套洋气的短袖短裤运动两件套

世界关节炎日|保护关节,南京市第一医院专家给出4条建议!

渠县15岁花季少女溺水身亡

你想要的好品质02ole都有一家有魔力的高端精品超市