原厂吊车配件 吊车:钢丝绳,轮胎 ,液压油,机 - 抖音

相关图片

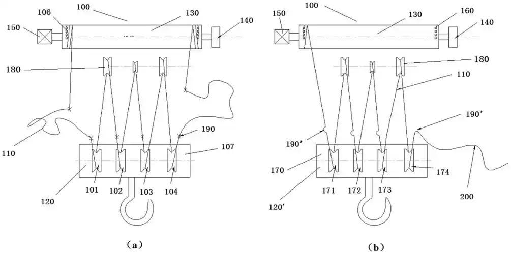
起重机双绳和四绳抓斗钢丝绳绕法图解

用于起重行车钢丝绳及吊钩轮组的更换方法

起重机械钢丝绳端部连接固定方式

插编钢丝绳吊具压扣穿扣吊索起重工具手工插编吊起重绳吊索具26毫米10

11mm防旋转油绳(19*7)钢芯钢丝绳 吊车吊机钢丝绳卷扬机塔吊

随机推荐

绝世好男人魏大勋!被颖儿说丑被霍思燕说好帅,一招帮谭松韵解围

迪丽热巴晒居家美照青春活力wink比耶笑容灿烂

小清新简约手绘卡通可爱图案图片素材桌面壁纸下载

15售出:新款钢管舞性感超高跟过膝靴优质漆皮加防水台女靴子966 红色

长头发这样扎,让你变成女神

近期,许晴,陈数和李小冉作为中年女星备受关注,她们的外貌成为了热议

刘若英首爆近照,海边放飞自我元气满满,宛若"少女小渔"!

你的微笑_简谱