以为王一通比较含蓄的李雪琴,其实被骗了_事情_贾玲_男朋友

相关图片

贾玲与绯闻男友走红毯满脸幸福被赞好有夫妻相照片曝光

贾玲个人资料简历 贾玲的男友是谁

贾玲爆火事件引发国际关注网友怒声护骨

网友们为了蹭流量,什么样的瓜都敢往外曝,最可笑的是,男朋友竟然是小

贾玲老公是谁叫什么名字贾玲老公孙继斌个人资料照片

随机推荐

一代佳人,蓝洁瑛

王菲身高多少(范冰冰个子有多高)

掌纹图解富贵十足旺夫益子的掌纹特征

自然风光美景唯美电脑桌面壁纸

《天国的阶梯》主演现状:崔智友整容 朴信惠走红

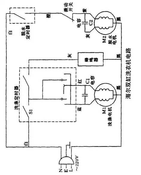
海尔双缸洗衣机电气控制电路图

幸福的母亲和孩子在一起母亲节

风景区位于江苏省 a target="_blank" href="/item/阜宁县城南新区