高压锅的原理_限压阀_食物_排气

相关图片

高压锅防爆攻略(使用攻略)

爱上这个高压锅的配件,让我更安心地烹饪美食.安全阀,限压阀, - 抖音

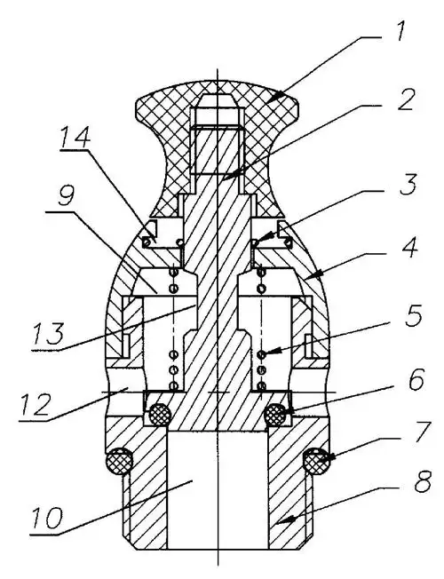
一种压力锅泄压阀-爱企查

高压锅到底怎么选?网红品牌真的好用吗?三款横评,给你答案!

首先,咱们得准备齐全电压力锅排气阀安装图高压锅气阀怎么安装图电

随机推荐

江珊近照女人味十足,小15岁丈夫太神秘,20岁女儿像极了高曙光!

爱的厘米——佟大为,佟丽娅

【apple music 4k】可惜没如果 - 林俊杰 vol.302专辑封面

黄晓明晒出结婚证

乐理| 一些概括 - 简书

手工老粗粗布床单老式用品织布机粗纹印花婚庆床单

万里长城最险的一段,箭扣长城鹰飞倒仰-步行街主干道-虎扑社区

表情包 可爱的小鸡