一种陪护躺椅

相关图片

cn109996468a_倾斜折叠躺椅

一种躺椅和单架可以快速变换的户外沙滩躺椅的制作方法

一种姿态可调节躺椅的制作方法

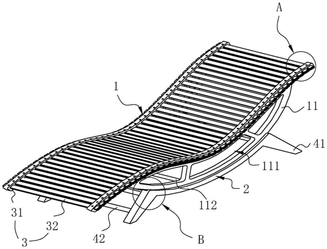
一种多功能躺椅的制作方法

本专利技术涉及一种家具结构,尤其是涉及一种多功能躺椅

随机推荐

动漫女生的画法,这样画超简单的不是有手就行吗!快来和我一起画

为了胜利向我开炮8部老电影讲述的抗美援朝历史

来自玩家的福利:多年收藏的魔兽世界壁纸(37)

硬糖少女303-赵粤欣赏欣赏,眼神好看啊

2021暴富情头2021你好2021做个快乐的小富婆一切向钱冲生活太难能否

赤脚穿过泥泞的道路照片

硝苯地平缓释片

悉数千面影帝梁家辉,看演员表才知出演过的电影,《智取威虎山》