cn209769691u_一种新型躺椅有效

相关图片

mood-dragonfly躺椅

anthar躺椅

liberty lounger躺椅

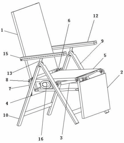
折叠躺椅的制作方法

柚木木太阳躺椅躺椅休息室家具

随机推荐

原创 合成2021新年吉祥壁纸大礼包

苏泊尔16yb22迷你多功能电饭锅煮饭饭锅13人家用小型电饭煲

再看《仙剑3》,我发现唐雪见并非一无是处,反而大有作用

女角色各种受伤情况体现;花千骨受消魂钉酷刑重伤吐血十分痛苦

摩根碎盖简单好打理的碎盖烫发男生发型 发型,男生碎盖烫|烫型不烫卷

抱走吧!大明星|黄轩回应哭戏很有破碎感 透露柳岩生活中超暖心

张碧晨,1989年9月10日出生于天津市,华语流行乐女歌手,毕业于天津外国

武汉地铁线路图 运营时间票价站点 查询下载 武汉地铁线路查询 武汉