河南南阳高二学生治疗叛逆期成长基地

相关图片

有没有适合苹果x以上的蔡徐坤全面屏壁纸啊

蔡徐坤/壁纸

蔡徐坤帅气撩人写真图片桌面壁纸

蔡徐坤微博转发1亿幕后黑手被端,微博严打流量崇拜黑产化

蔡徐坤杂志帅气写真,高清图片,电脑桌面-壁纸族

随机推荐

新华御著欢迎您(上海金山)新华御著首页网站丨房价_户型图_地址_楼盘

老汉挑担子沿街叫卖山鸡刺猬,路人被吓得躲着走

请问有没有4k或者8k的手机壁纸本人手机型号为小米11ultra

头像图片既可爱又丑

iu李知恩 | 头像

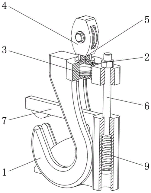
一种用于吊装设备的自动脱钩机构的制作方法

柠檬小姐不怕酸做的手握寿司

今天我画画了#画画 #禁欲系 #黑白#男生 #锁骨 - 抖音