超简单压力锅炖猪蹄炖肘子

相关图片

炖肘子的做法教程 炖肘子怎么做呀

妈妈版炖肘子的做法

3. 火腿炖肘子

家常菜入口即化的红烧肘子

各式炖肘子

随机推荐

肖战王一博双人图集这届网友有点狠

适合圆脸大脸女生的刘海

李准基太帅了

随意丸子头扎法图解 3款好看丸子头扎发教程

蔡徐坤帅气高清电脑桌面壁纸图片

今麦郎东三福酸辣肉丝面方便面整箱装泡面121克x24袋7种口味包邮

唯美背影图,背影图片唯美伤感(唯美背影壁纸之欧美系列)

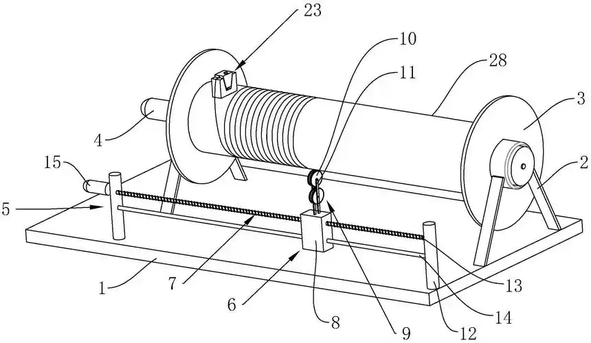
cn213387582u_一种提梁卷扬机自动排绳器有效