白面包,水彩形象的孤立在白色背景上的白面包

相关图片

画了个画几个水彩小面包

板绘水彩||面包92(含绘画过程图片)

水彩美食面包插画打卡早餐标配生吐司

水果奶油吐司ipad水彩

手绘水彩食物插画出炉面包最好吃附过程图

随机推荐

虞书欣# 一袭蓝色碎花旗袍,肤白貌美的容颜,窈窕曼妙的身材,清纯堂览

宋茜穿黑金刺绣套裙知性优雅美腿吸睛

《武媚娘传奇》张钧甯7815徐慧.

金轮收过三个徒弟,但郭襄只做了一件事,就让他一心想把衣钵相传

之前的郑爽身材过瘦的时候其实还是挺让人觉得不自然的,照片

薛之谦—演员

头像古风女生唯美仙气 绝美超有仙气的古风女头图片_女生动漫头像

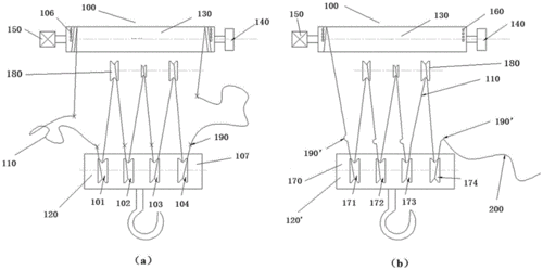
用于起重行车钢丝绳及吊钩轮组的更换方法_cn201910474565.6_知雀网