头像日出大海 头像图片大全 -【爱个性】

相关图片

日出招财头像海面上唯美的日出日落风景图片

好看风景头像唯美的日出风景图片

日出大海头像 唯美海面日出风景头像_微信头像图片大全

最招财的日出风景头像海上唯美日出日落风景图片

2021最新最美的日出风景头像高清图片大全唯美头像

随机推荐

郑恺肌肉线条感##郑恺

此简约大气的几何海报设计.by caterina bianchini

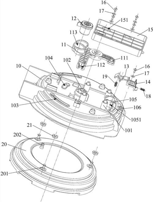
电压力锅及其开盖装置的制作方法

蓝盈莹 美腿玉足合集[三哈]

僵尸- 堆糖,美图壁纸兴趣社区

1一3岁短发男宝宝寸头酷炫帅气的男孩发型

爱的阶梯: 子杨伤害秋妍, 结果自己受伤住院, 老妈竟指着秋妍怒骂

其螺距为一种粗牙和一种或一种以上的细牙,因此在标注细牙普通螺纹时