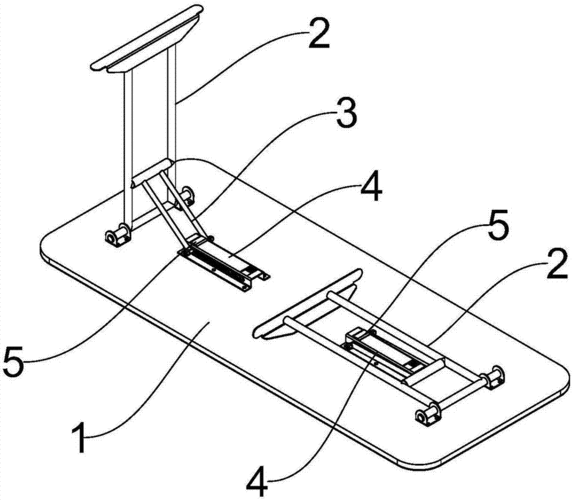
一种可组装多功能折叠桌的制作方法

相关图片

户外实木蛋卷桌露营折叠桌烧烤桌椅便携桌椅家用餐桌户外桌椅

休闲折叠桌的制作方法

折叠桌子腿桌腿支架折叠桌支架桌子腿支架折叠饭桌架子餐桌架灰5858高

一种折叠桌的制作方法

本实用新型涉及一种桌子,特别涉及一种升降折叠桌.

随机推荐

湖南中秋晚会20160921 王俊凯十七岁生日会20210921 大湾区中秋电影

广东陈冠希头像

soogifgifsoogif出品gif李易峰gif大笑gif开心gif

刘雯第15次登上《vogue》封面,成为杂志12月闭年刊封面人物.

恶意p图李沁黑白照剧方道歉##p李沁黑白照短剧方道歉

高腰紧身小脚牛仔裤.姐妹们!终于找到配靴子的小脚裤了!穿上显 - 抖音

小女孩 卡通形象设计

齐肩短发直发发型图片 圆脸 新款,圆脸适合齐肩短发吗---稻草号