王俊凯合照p图教程,王俊凯合照p图.王俊凯合照p图素材#欢迎 - 抖音

相关图片

你们要的王俊凯合照p图素材.#王俊凯合照p图素材 #王俊凯合 - 抖音

王俊凯合照p图素材#王俊凯舞台照 #王俊凯合照p图素材 #教 - 抖音

王俊凯合照p图素材

王俊凯 #王俊凯巴黎时装周 #合照 #周杰伦生日快乐 - 抖音

王俊凯合照p图素材,王俊凯合照p图.王俊凯p图素材#欢迎取图 - 抖音

随机推荐

周慧敏最绝老照片这些你肯定没看过

张学友高清卡点每天爱你多一些爱了爱了

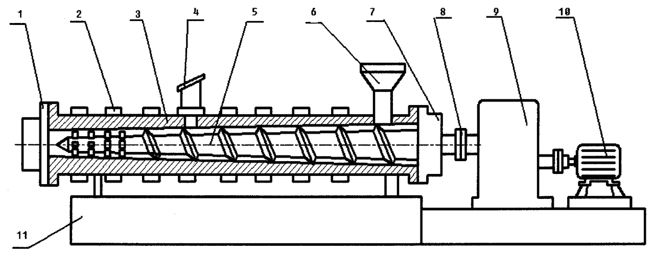
cn102205620a_差速锥形双螺杆挤出机失效

最全整理2021年天津市高考各大学分数线汇总

宋佳inkenzo

朴灿烈白衬衫造型##朴灿烈杂志

男生假发男短发短直发韩版男士学生齐碎刘海帅气自然逼真时尚蓬松浅

林彦俊全球粉丝后援会