丑男网图高清

相关图片

公司的模特全是"丑人",这家丑人模特公司已经汇集了1000多名丑男丑女

丑男照片

极品搞笑丑男图片头像

原创影帝黄渤恨了父亲那么多年现在他不认识我了但我依然爱他

"丑男大赛"(reign of the ugly)哥伦比亚举行,19名选手比拼自己的"丑

随机推荐

周杰伦《范特西》专辑封面封底清晰大图

因为顶流不可复制_新人_鹿晗_吴亦凡

李沁温婉动人唯美图片桌面壁纸

珍贵老照片:一次性看完杨颖的容貌变迁史_baby_时候_港台明星

舞蹈老师导师简介潮流街舞设计模板psd设计源文件

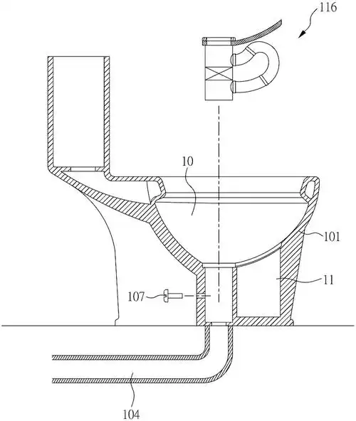
易疏通马桶的构造

> 基督2015-12-17 在许多的耶稣画像中,往往有着这样的

红山动物园考拉馆传来好消息,三宝就快出袋啦!