跨境外实木折叠沙滩椅牛津帆布躺椅午休折叠沙滩椅厂家低价出售

相关图片

tnr趣谱南美柚木实木折叠椅轻便户外露营庭院kermit克米

云鸾实木摇椅懒人休闲摇摇椅逍遥椅成人午睡椅躺椅阳台老人椅客厅01款

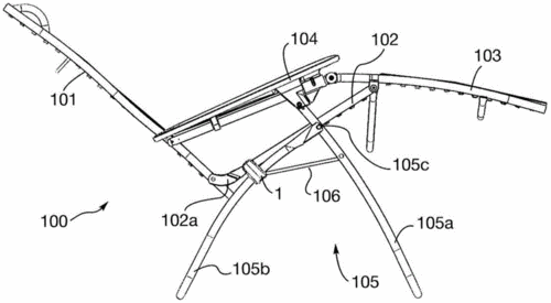
cn109996468a_倾斜折叠躺椅

一种能提高舒适度的躺椅靠背的制作方法

寻木匠实木躺椅子逍遥椅阳台可折叠帆布休闲椅白橡木懒人椅午睡椅民宿

随机推荐

易烊千玺高清4k电脑壁纸壁纸

要是景甜和张继科演《恋爱回旋》效果会好很多

照片头像丑男头像_微信头像图片大全

小清新励志文字语录,高清图片,电脑桌面-壁纸族

"人气小花"王玉雯,带着春天般温暖气息与梦幻仙气的少女,好美

风帆蓄电池旗舰店6qw6012v60ah高尔夫迈腾速腾宝来朗逸捷达明锐帕萨特

水墨画的韵味~97小伙伴们,春天来了是时候换一波壁纸啦~我平时都在

全世界其实对红斑狼疮都是保守治疗,即使最新的sle治疗法也不一定适用