电动三通温控调节阀成套温度控制方案

相关图片

三通调节阀工作原理

什么是高压加热器旁路三通阀

了解三通阀符号及原理让生活更便捷

三通阀

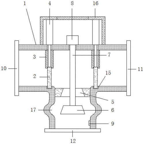
一种暖通温控电动三通阀的制作方法

随机推荐

精美锁屏壁纸

张真源分享最新写真大片现实与梦的交界07

小海豚并非唯一!林心如竟然还有个大女儿?

植物图片,小清新,植物,绿叶,小清新,电脑壁纸,壁纸小清新植物

2024尝试时尚男士发型的不二选择圆寸头飞机头分头发型

卡丁车男孩常华森

世中仙儿の女生头像气质高冷原宿风

捉妖记2:胡巴与爹妈重逢,却被梁朝伟抢走,要抱抱的表情好可爱