女生花臂纹身图案

相关图片

传统风格花臂纹身图案大全29

精致而传统的花臂花旦纹身图案

2021时尚花臂 女生花臂图案(4/4)-纹身图片网

素花纹身贴 防水 女持久 诱惑性感 手臂纹身图案女个性酷花臂荷花

樱花|纹身图案|原创纹身|女生花臂|手臂 原创纹身图案 樱花 .

随机推荐

简约小清新中国风复古扇子背景

周冬雨和张艺谋的关系可以说是一段"爱恨情仇"

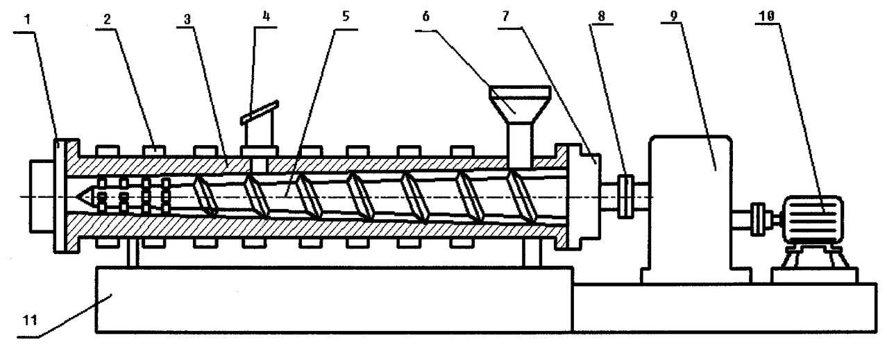
cn102205620a_差速锥形双螺杆挤出机失效

微信头像女戴眼镜 女生头像图片大全 -【爱个性】

身高170体重150秋天来了

justin黄明昊202直拍合集

看多了风景,今天分享一下动漫人物漂亮可爱的猫猫美少女,喜欢吗

内蒙古"第一美女歌手"乌兰图雅,肤白貌美气质高雅