进行水蒸气蒸馏 ★蒸馏装置图片http://upload.wikimedia.org/wiki

相关图片

水蒸气发生装置用多少毫升蒸馏瓶_挂云帆

水蒸气蒸馏装置的安装

(6)在蒸馏操作中,仪器选择及安装都正确的是________(填标号).

一体式水蒸气蒸馏装置yfzl6a实验室氟化物蒸馏仪

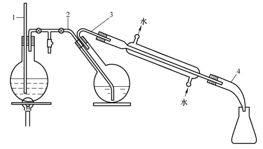
水蒸气蒸馏装置示意图

随机推荐

皮衣极致迷人皮衣战酷酷的 @x玖少年团肖战daytoy#法越馨晒拍的肖战

郭晶晶 jingjing guo的图片

普戈斯cattee美式潮牌水洗做旧牛仔衣男复古街头风情侣宽松破洞夹克

鞠婧祎婚纱造型花絮照曝光02侧颜精致妩媚迷人

你猜董洁年龄多大了?素颜照曝光

鲁健:32岁娶小6岁央视主持人,婚后"分居"15年,风光背后有泪水

蓝紫色水彩笔刷

清纯阳光美女唯美慵懒写真桌面壁纸图片高清大图预览2560x1600_美女