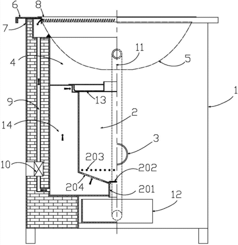
一种旋转火焰无烟柴火气化炉的制作方法

相关图片

农村无烟柴火灶设计图纸4款农村柴火灶台设计图欣赏

这个无烟柴火炉._家装_家居_家居用品_家居家装_家居用品

一种无烟节柴灶制造技术,家用无烟节能柴火灶专利_技高网

新式无烟柴火灶建造方法(柴火灶怎样做到无烟)-3

户外帐篷炉柴火炉子便携炉无烟野营弯头烟囱 全地形延长炉腿【图片

随机推荐

正文 就吴奇隆当年的巅峰颜值,放在现在也是足够能让

肖宇梁 - 堆糖,美图壁纸兴趣社区

厂家木工板胶合定制高品质细木工板家居装饰木板材

换发型首选这款气质爆棚的短发羊毛卷,发型搭配起来,真的是太美了.

生活不止眼前的苟且

绚丽粒子光斑动画gif

《宝莲灯》男主曹俊昔日男神变最后一名,女友与他分手后飞黄腾达

《jojo的奇妙冒险第三季 星尘斗士》迪奥·布兰度