电压力锅原理ppt

相关图片

开端火了一批高压锅恐惧症患者出现了

电压力锅压力电压力锅理论基础

日本wonderchef魔法高压锅进口304家用不锈钢压力锅18/22cm

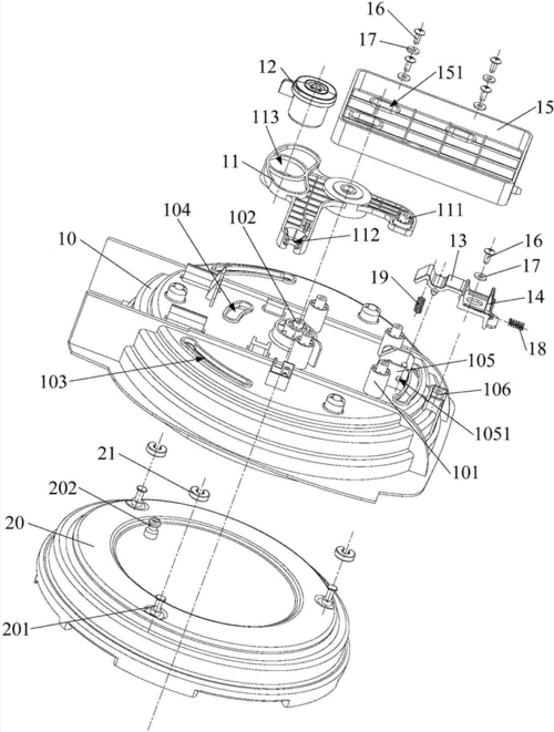
电压力锅说明书(九阳jyy-50ys9)

omt欧美特电压力锅skd50a03电子版

随机推荐

[王源][分享]200721 王源古装造型合集 是惊艳时光的

周润发现状令人唏嘘,苍老消瘦,皱纹如树皮双眼无神

杨蓉甜美迷人

原创近年网播量破十亿现偶剧top10暴雪时分9亿以爱为营10亿冠军是它

时尚纹理烫短发女

请不要再把hiphop当成非主流啦!_yeah潮流_台山论坛_国际台山网

英短虎斑猫多少钱一只(美国短毛猫丨银虎斑) - 价格百科

《那兔》兔子那些年许下的诺言,在今年我们是否实现了?