从开始到现在钢琴谱张信哲演唱五线谱钢琴曲指法

相关图片

从开始到现在钢琴谱_张信哲_冬季恋歌主题曲

从开始到现在-张信哲-降b调 -流行钢琴五线谱

钢琴谱:从开始到现在(张信哲)

从开始到现在钢琴谱张信哲演唱五线谱钢琴曲指法

从开始到现在 简易版 经典流行钢琴谱-钢琴上的美妙旋律-虫虫钢琴

随机推荐

天王郭富城帅了几十年,百变发型功不可没,你学过几款

iphone壁纸宠物小精灵雷丘

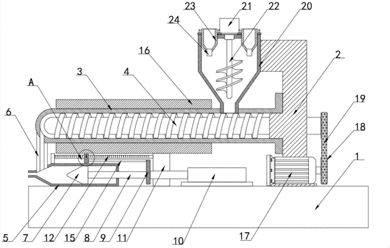
一种橡胶混炼螺杆挤出机及加工方法与流程

极简黑白三角线条现代简约电视背景墙图片设计素材-高清psd模板下载

唯美意境女生头像大全

揭秘上瘾床戏黄景瑜熟练许魏洲害羞骂人

《乘风破浪的姐姐2》杨丞琳的反应速度绝了,边唱边接住耳环

植物简笔画梅花 - 燕子图片网,一个充满欢乐的表情包,头像图片乐园