折叠躺椅的制作方法

相关图片

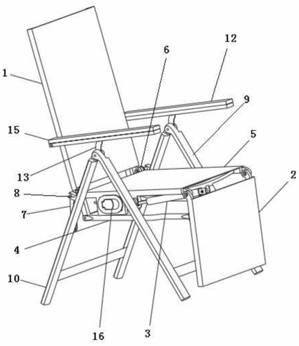
现有的折叠躺椅种类繁多,功能也日渐增多,但是其在结构上通常

挑战ipad手绘50把世界名椅17柯布西耶躺椅

cn213046152u_一种靠背调节式躺椅

躺椅结构及躺椅的制作方法

背景技术::目前的躺椅结构中,座垫是固定不动的,而靠背和搁脚垫都是要

随机推荐

穿搭#迪丽热巴机场照#迪丽热巴日常穿搭

批发原装水星mercury25四冲程船外机进口船用发动机汽油

毛不易 - 借 [弹唱] 吉他谱

太极服秋冬太极拳练功服女男牛奶丝加厚加绒服装中国风冬季款保暖

多彩壁纸296期|紫色系列手机壁纸

les百合资源

最新资讯_风暴英雄最新资讯_风暴英雄官方合作专区_58game风暴英雄专

和平精英q版头像 和平精英q版头像(第一弹)