ck5110x8-2数控单柱高速立车图纸

相关图片

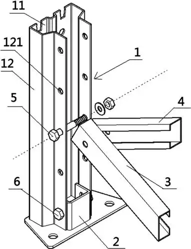
cn206252205u_改良式货架立柱失效

带有可活动立柱的半挂车的制作方法

车棚图纸双立柱车棚支架图

二层车间改展览馆混凝土加固施工图- 结构图纸 - 沐风网

机床立柱装配图零件图图纸下载_机械加工图纸 - 沐风网

随机推荐

林允儿个人写真照片小卡明信片少女时代周边100张lomo卡片

王俊凯健身房梗

布沙发套罩 简约现代

李红14岁辍学18岁逃婚从农村妹到央视一姐风光背后有辛酸

张歆艺袁弘一家五口感染新冠分 享感悟 - 内地新闻 - 中国综艺网 - 全

《fate》粉色甜心女孩,蓬蓬裙,小动物,蜡烛,骷髅,4k高清动漫壁纸

一个人吃饭,睡觉,工作,恢复单身生活,一个人或者也挺好,那么你的价值

失恋进行曲钢琴谱-段帅