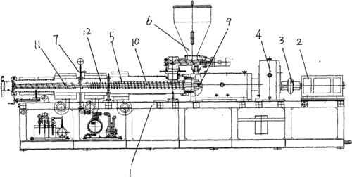
单螺杆挤出机挤出成型理论

相关图片

cn102205620a_差速锥形双螺杆挤出机失效

具有平行螺杆头段的锥形单螺杆挤出机

cn201506022u_用于各种热塑性塑料挤出的同向异径双螺杆挤出机有效

一种双螺杆挤出机螺杆结构

线型低密度聚乙烯单螺杆挤出机设计- 设计方案图纸 - 沐风网

随机推荐

王俊凯荧幕初吻被夺走 ?

眼镜控看这里 男明星眼镜杀_造型

杨钰莹终究是老了,在美颜下看似年轻,但身材却瞒不过大家的眼睛

康师傅方便面 正品清真食品康师傅麻辣牛肉面100g*24袋装方便面速食面

动漫中,各种状态下的眼泪,说不尽悲伤,你受得了吗?

祁隆与徒弟冰释前嫌,小阿青退网两月重新回归,师徒关系涛声依旧

blackpink金智秀过生日中国粉丝集资超370万应援好多奢侈品

王艺瑾