壁纸推荐绿色护眼绿意盎然清新唯美高清无水印

相关图片

亲近自然沉浸在护眼的绿色里 绿色护眼手机壁纸>

亲近自然沉浸在护眼的绿色里 绿色护眼手机壁纸>

壁纸推荐绿色护眼绿意盎然清新唯美高清无水印

绿色壁纸保护视力,有绿色护眼系列的手机壁纸吗(绿色护眼壁纸美图)

小清新绿色护眼 - 堆糖,美图壁纸兴趣社区

随机推荐

爱你一万年艺术字体

二代妖精白纤楚*刘亦菲

细数哪些明星剃过平头_发型_魅力十足_疫情

明日黄历查询2021年3月26日黄历运势

钟楚曦为自己拼一把##戛纳电影节

清纯美女学生制服写真图片手机壁纸

补益资生丸

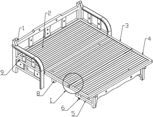
一种折叠式沙发床的制作方法