exo边伯贤 #天才爱豆边伯贤 #边伯贤 #exo #爱豆安利 军装纤谁

相关图片

exo边伯贤军队训练照公开 白嫩逆龄似高中生

皮肤好到发光 exo军中照逐个看

exo都暻秀军营照公开穿军装戴军帽目光坚定

exo成员金珉锡,都暻秀最新照片公开:一定要好好的啊!

exo都暻秀军装军帽目光坚定帅照图片

随机推荐

蔡徐坤徽章金属胸针ikun衣服包包饰品纺烤漆章子kun夜光字章

深度秘密:简阳喝醉了,妈妈在一旁照顾他

所有分类 工程科技 机械/仪表 工厂电气控制与设备(ppt) 主电路 总

湿海绵画画 绘画 我爱画画 铅笔画 绘画大神 手绘 板绘简笔画 插画

两个多月的扇形双眼皮,宽窄刚刚好,图36615是去拍写真时画的眼妆

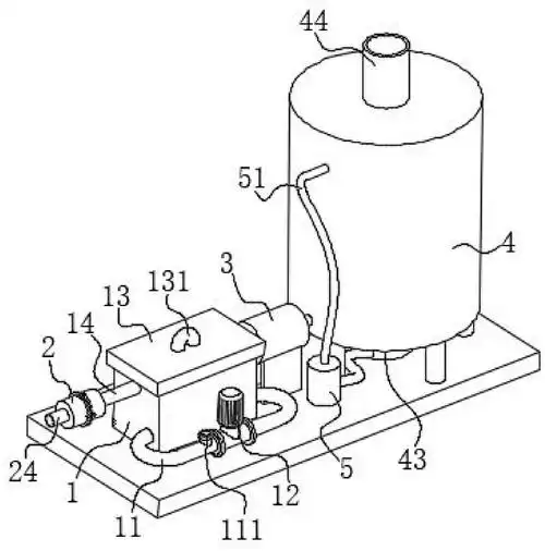
连通管固定连接有过滤组件,处理箱的右侧通过管道固定连接有抽气泵,抽

2012中国地产人微博价值排行榜裘维维

大力鬼王 此鬼来源于印度佛教.