网友"李钊大哥"的二次燃烧柴气炉尺寸结构分解图

相关图片

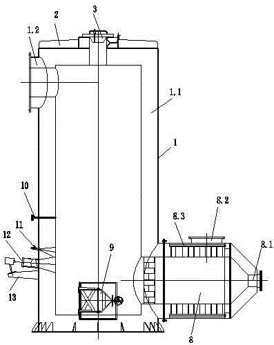
一种二次燃烧的节能锅炉的制作方法

这类烧柴灶点火困难,时间长,污染大,在燃烧时炉内空气量

magmamini2最轻帐篷柴火炉二次进气钛炉

二次燃烧高效采暖炉的制作方法

多功能柴火气化炉 生火快速,效果展示,气化炉二次燃烧节能省柴02

随机推荐

辣目洋子体重超120斤,爱穿吊带裙却不显臃肿,自信的女人真美

杨紫不顾形象大笑眼睛快眯成一条线了还多了幸福肥

蜡笔小新壁纸套图锁屏和主屏

杨蓉#电视剧护心# 咔嚓92是谁的绝美剧照?是素影@杨蓉 的!

61岁李连杰近照:满脸皱纹老年斑,身体堪忧已交待好后事

中国影视圈一位闪耀着光芒的女星杨幂日前在一组晚餐合影上成为网上

【张哲瀚|周子舒】收录山河令全剧120个笑容镜头|倾城一笑|治愈暴击

两点透视景观亭设计手绘表现#风景园林 #景观 - 抖音