我想做一个加热的系统求个电路图.温度能达到100度以上并保持恒温.

相关图片

电炖锅不加热先检查一下其供电电路是否正常.

多功能电热锅电路

三角drg130节能调温多用电热锅电路图

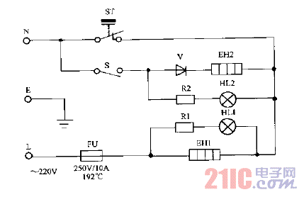
保温电热锅电路图

最新专利 电子电路装置的制造及其应用技术 本实用新型涉及一种电炒锅

随机推荐

被刘德华亲了一口的婴儿,长大后把他踢下神坛,网友:青出于蓝

分享几张曲面屏壁纸!

柯震东收起过往准备重新出发 柯震东表示渴望每一次的演出

《水浒传》:让人看不懂的8个绰号,一般人根本不知道是什么意思_梁山

仙气真人少女心女生头像无论结果如何爱你的人会依然爱你

外阴下体膏炎瘙痒私处下面痒阴毛毛囊男女专用止痒抑菌外用药白斑

新金秋迎来新学校,新学校迎来新面孔,新面孔迎来新友情,新友情 - 抖音

关键词:山水花鸟油画免费下载 风景 风景画 花鸟画 山峰 山水花鸟