空竹知识图解双轮空竹和双轴空竹技法

相关图片

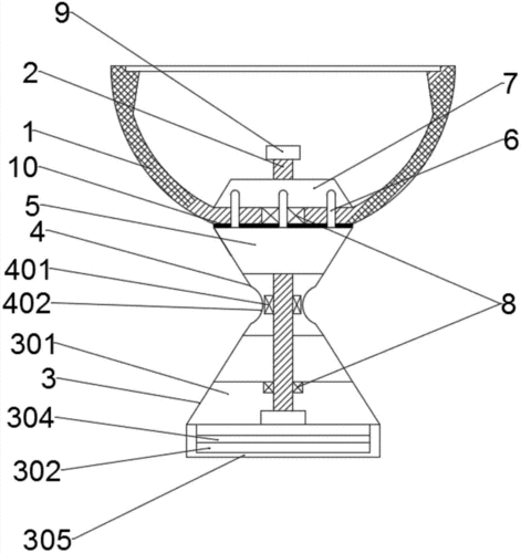
一种设有配重结构的高速旋转空竹的制作方法

一种电子空竹制造技术

一种高安全性无声空竹制造技术

一种电子空竹的制作方法

【正版全新直发】空竹玩法1:新手上路 龙腾 河南科学技*出版社

随机推荐

易烊千玺高考加油

周笔畅送上一个大白眼,火速按下红灯.(红灯表示淘汰) . . .

苏沫优质精选温柔甜甜双马尾女生头像

女明星杨幂古装照:扶摇,风晴雪,白浅,洛晴川,哪种造型具有仙女气质?

气质简单成熟多人闺蜜女生头像 气质女人味的微

无偿领养蓝白英短猫活体蓝猫幼猫矮脚猫折耳小猫宠物猫咪幼崽活物

阻挡,旋涡星云,星座

黄明昊justin 神仙图片 - 抖音