简约清新绿叶电商海报背景

相关图片

小清新孟菲斯电商招聘海报背景

红色大气海报背景模板挂图背景图片

红色大气海报背景模板挂图背景图片

红色大气海报背景模板挂图背景图片

唯美清新美丽的桃花海报背景

随机推荐

#王嘉尔方回应#

芳华(文静篇)

180cm和160cm有什么区别?人体身高机制的秘密.-柠檬ai自媒体

磕cp吗#凯源#千凯千 #千源 了解一下#tfboys#向全 - 抖音

学第8版课件 消化系统ppt 系解第8版 五,舌 (一)舌的形态 舌体 舌根

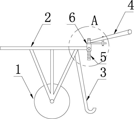
cn201907537u_独轮车有效

本人一米四七在这里搞一个一米四女孩子的穿搭有没有神仙女孩来分享一

潘迎紫为什么不结婚 曾被前夫伤透心