2,通风道的设计通风道是指炉篦以下的空间.

相关图片

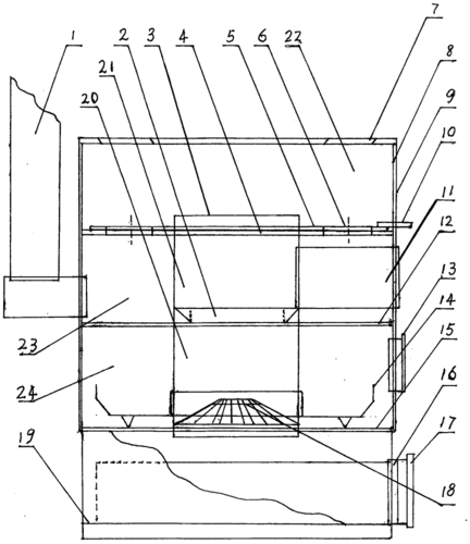
一种二次进风高效节能炉制造技术

生物质颗粒燃料经燃料炉加料口加到炉膛内的炉篦上,通过一次风道点燃

进料口直接与炉芯相连通,炉芯的底部设有进风口和风量调节板,炉芯下部

一种柴火炉的制作方法

柴煤炉三次进风系统装置-爱企查

随机推荐

网红男孩女孩生日装饰场景布置男朋友18岁快乐派对背景墙气球用品

华北石油局离退休人员喜迎十九大书画摄影作品展摄影篇

宋知意/个性高冷真人文艺范成熟男生头像

量高杆抽拉自如,刻度精准,黑底白字易看清楚.

小恶魔头像|凝望我眼眸 91

呆萌可爱情侣头像

回顾李佳璘:一部剧到事业巅峰,二婚嫁穷小子,今丈夫红到令人嫉妒

李斯丹妮日常彩蛋掉落##李斯丹妮野性狼人舞台