超人气碎盖头发型 清爽百搭男生短发_男士短发 - 美发站

相关图片

韩式碎盖头发型 帅气少年感十足_韩式男发 - 美发站

盖头发型是一个实用型很强的一个发型,无论是男生还是女生都可以轻松

超人气碎盖头发型 清爽百搭男生短发_男士短发 - 美发站

男生碎盖头发型超帅发型不用烫全靠抓理

韩式碎盖头发型 帅气少年感十足_韩式男发 - 美发站

随机推荐

谭松韵现身机场红色面包服搭牛仔裤简约时尚又保暖

情侣头像丨如果你特无聊,我们就一起聊

启祯格物的相册-乐从堂旧藏 汝窑洗

老娘生日家庭宴会2016年12月7日

词条图片

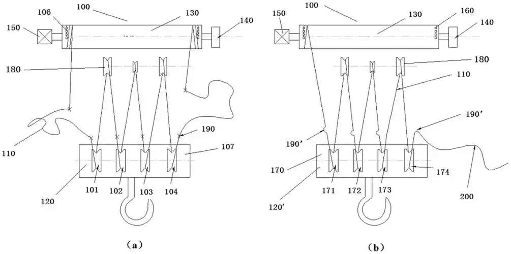
用于起重行车钢丝绳及吊钩轮组的更换方法

【转生史莱姆】萌力全开!快来收下这些史莱姆壁纸叭96

《北京故宫》,课堂上孩子们分组以小导游的形式展开,课后以思维导图的