上户彩广末凉子长泽雅美korea李知恩林允儿郑秀晶裴秀智裴珠泫宋慧乔

相关图片

裴珠泫 red velvet ——irene 儿时的裴珠泫已出落得亭亭玉立

南韩第一美裴珠泫露背装性感十足整容前照片曝光你们怎么看

林允儿郑秀晶裴秀智裴珠泫宋慧乔好啦好咯明星们的童年照就推送到这啦

instiz热帖:修复成高清的irene的童年照

南韩明星童年照曝光(一)!iu,裴珠泫天生丽质,差别最大的是她?

随机推荐

古典|古典美消失了!"硬凹古装美人"的11位女演员,一个比一个辣眼睛

2016欧美男生最新发型图片潮男风范帅气有型

《wallpaper engine》漫风风景壁纸推荐

【来源p站,侵删】q版新一 o(*≥▽≤)ツ画师:azgby 工藤新一,日本漫画

小恶魔百度图片搜索

浅蓝色简约休闲西装

胜出#

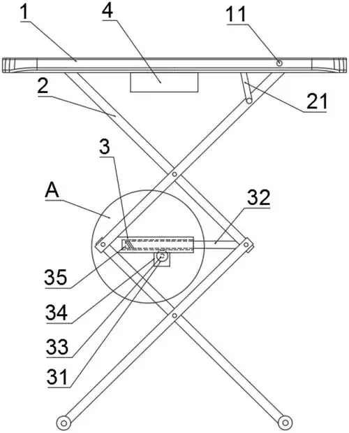
一种可电动调节高度的折叠桌