基于au7845单芯片的无机芯迷你音响方案设计

相关图片

让你一次看懂手机芯片的工作原理

新一代开关电源芯片sg3525工作原理剖析

第二讲:详解智能电表的主流计量芯片方案

8251芯片中文资料汇总8251引脚图及功能工作原理及应用电路全文

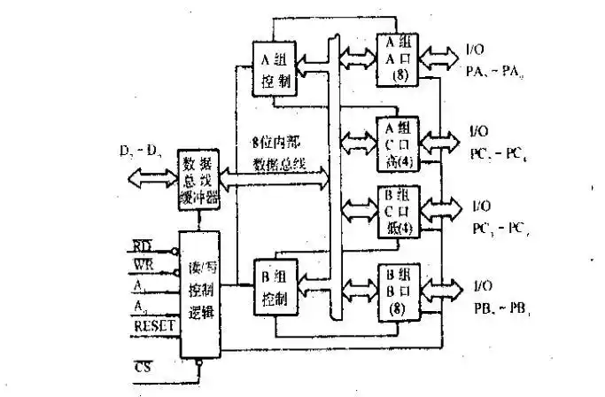
8255是什么芯片8255引脚图及功能工作原理及应用电路分析

随机推荐

夜晚睡觉若有9种"反应",或许是大病到来的提醒,可能应上心

中西结合婚礼怎么办婚礼中式好还是西式好

白色战衣阿诗勒隼绝了,造型封神!#长歌行 #吴磊 #气场全开 - 抖音

漂亮女艺人曹颖贴图专区华声论坛

婚礼现场[烟花r][烟花r]莒南小预算婚礼简约干净大气又温馨的婚耨

男明星女装合集,这些男星美起来基本没有女人什么事了_王源_蔡徐坤

在精神病院里的一个黑暗肮脏的房间

男生最帅正装照刷屏小姐姐们不淡定了