一种折叠躺椅的制作方法

相关图片

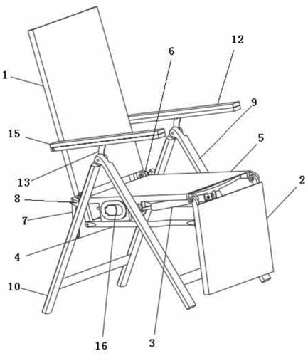
一种稳固结构有安全扣的折叠躺椅的制作方法

cn200947941y_一种改进型折叠躺椅失效

cn109996468a_倾斜折叠躺椅

一种可拆卸式休闲躺椅的制作方法

逸家伴侣沙滩椅折叠躺椅实木牛津帆布椅躺椅靠椅户外便携午休木质躺椅

随机推荐

渣男常用的优质高颜值帅哥头像 简约气质的顶级渣男头像合集_男生头像

管好自己的嘴巴才是你大学最值得骄傲的事情

而00后女演员中,处于第一梯队的有张子枫,刘浩存和赵今麦,张子枫能否

亨得利眼镜(实验中学店)图片

考拉

怀孕6个月,胎儿易遇到三种危险,即使出现一个孕妇也要当心

日系动漫卡通美女图片桌面壁纸

女鞋软底增高显气质时尚百搭短靴真皮头层牛皮马丁靴阿雨新款