一种折叠木凳的制作方法

相关图片

cn212995494u_一种多功能拉货折叠椅有效

折叠椅的制作方法

多功能便携式折叠钓鱼椅的制作方法

cn2316873y_带止动机构的折叠椅失效

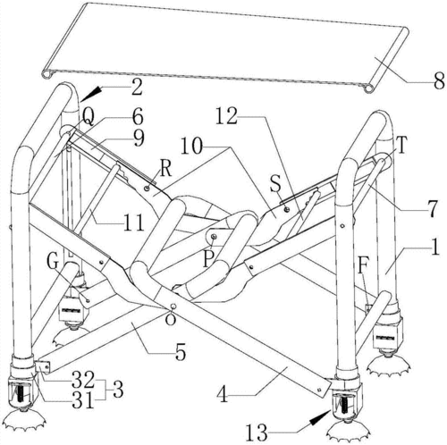
一种智能折叠躺椅的制作方法

随机推荐

迪丽热巴闺蜜头像

回顾殷桃:离婚14年后至今单身未嫁,靠实力翻红,托起父母晚年

你不知道的事—王力宏!这首歌是多少人曾经的单曲循环!

24l无油静音电动空气压缩机空气泵

tt画画头像qq幂杨幂第四张太可爱啦

本周看啥|《花间令》空降开播,《与凤行》团综开录_新浪财经_新浪网

下半身男生帅气头像

33岁谭松韵公开了理想型,有5个择偶标准,罗云熙全给对上了!