灰尘,坦克,中国主战坦克,99式,高清图片,武器-纯色壁纸

相关图片

俄专家点评2017年中国武器装备发展重大成绩

中国武直10空战视频曝光,装备这款武器后,能击落战斗机

中国陆地作战武器_中国陆军装备大全

中国武器开始由注重数量优势转向注重质量(图)

美称中国测试高超音速武器 速度达音速10倍

随机推荐

理想l9内饰图具体来看,理想mega的中控台区域搭载了四辐式方向盘,4.

当兵虽然辛苦,但从小就养成了独立自主性格的刘涛并不惧怕这些苦和累

男生圆寸板寸毛寸头发型有什么不同

220安全出行文明交通艺术字素材891交通安全创意艺术字2271文明交通

斗罗大陆之神界传说外传,q版唐三,绘画

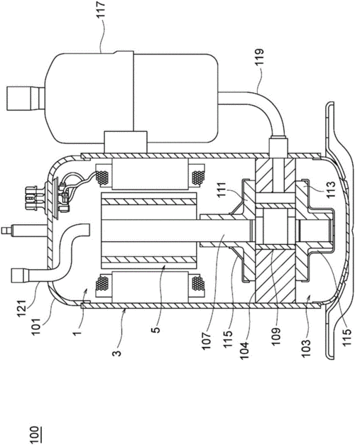
压缩机制造技术

ai美颜|戴眼镜的妹子酷似斯文_女孩_感觉_女生

上海医院诊室不对外说的4个妇科"断根药" 1,甲硝唑片 适用于:阴道