防雷接地均压环电阻图

相关图片

卫生间的均压环怎么算

均压环的长度怎么算

建筑防雷设计中,均压环的设计一般有哪些要求?这些要求必不可少

防雷图纸中的均压环怎么看-服务新干线答疑解惑

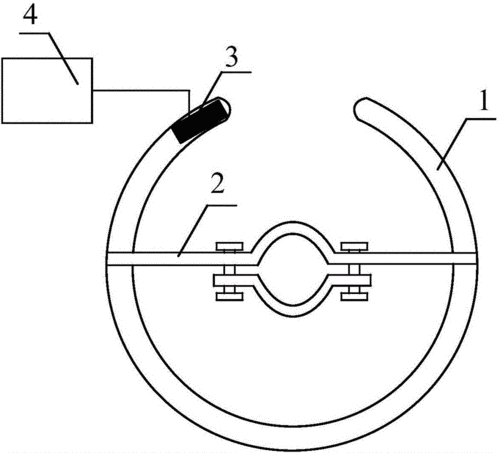
一种具有闪络检测功能的特高压输电线路均压环

随机推荐

女生自己剪头发图解

卡通点击关注gif动图图片素材

唐嫣《锦绣未央》唯美剧照图片桌面壁纸

陈凯歌为捧儿子拼了青春片已杀青请来刘昊然与陈飞宇搭档

马思纯有两段著名的恋情,一段是和影星欧豪,因为拍摄《左耳》,一对

爱豆壁纸 | 朴灿烈 系列 - 知乎

孔雪儿粉色钻石吊带热辣吸睛 前凸后翘十分迷人

芽芽星冰乐-哦哟~-哔哩哔哩视频