重楼七叶一枝花蚤休种植技术图片

相关图片

每日中药——蚤休

一味中草药—蚤休, 豫见国医

蚤休

连载清热药:蚤休

重楼七叶一枝花蚤休草河车粉质滇重中药材100g包邮其他药食同源食品

随机推荐

新中式婚礼

头像图片丨67部位头像个性搞怪头像情侣头像

鞠婧祎深冬雪景大片,造型如何?__财经头条

《杨贵妃秘史》殷桃十个造型,第六素雅,第八粉嫩!

明人不说暗话我被放开我北鼻中的黄景瑜圈粉了

中短发烫卷真的太俏皮减龄了

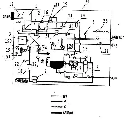
摘要附图摘要本实用新型公开一种单螺杆空气压缩机,包括空气滤清器

刘昊然吐舌头卖萌gif动图_动态图_表情包下载_soogif