90冷酷帅气男生动漫壁纸,快来get77 今日份分享超酷炫的男生动漫

相关图片

90冷酷帅气男生动漫壁纸精选97

90动漫男生壁纸,帅气冷酷范儿拉满99 动漫男生壁纸来啦!

90冷酷帅气男生动漫壁纸,快来get77 今日份分享超酷炫的男生动漫

90男生动漫壁纸,冷酷帅气超有范!99 嘿嘿,宝宝们!

90霸气男生黑夜壁纸,冷酷非凡98 这组霸气男生黑夜壁纸,展现了

随机推荐

一向性冷淡风的周冬雨罕见变身小公主,还涂抹上了颜色超鲜艳的口红.

人参黄精压片糖果23.jpg

漫画男头 | 禁欲系 | 粉色系烟鬼.#优质头像 #动漫男头 - 抖音

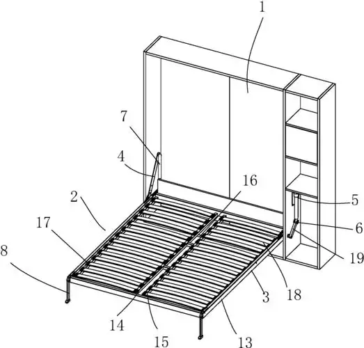
cn108669895a_一种手动与电动一体化的翻折床在审

认识半点时钟与数字对应卡

鱼戏荷叶间

《天然女王贝手链女学生韩版粉贝壳珍珠手链闺蜜手串佛珠送礼物情侣

打卡硫磺湖