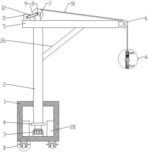
一种用于吊放反渗透膜壳的组合式吊装装置的制作方法

相关图片

一种门座起重机象鼻梁头尾部滑轮电动吊装装置

一种装配式建筑构件吊装装置-爱企查

cn206427945u_一种建筑用可调吊装装置失效

一种自紧式吊装装置-爱企查

一种用于蓄电池连片极板的吊装装置的制作方法

随机推荐

姿势 动作 耶姿势 元素 设计手势耶元素

长虹(changhong)平板电视75q9k max报价_参数_图片_视频_怎么样_问答-

小鬼王琳凯超话脏辫yyds#小鬼把更多时间花在音乐上#@小鬼-王琳凯

白色,人的脸部,清新,皮肤,青年女人

山河令余热未退又一部双男主剧将袭看到定档时间太聪明

叶罗丽水王子战损妆泪目为恢复众人仙力累倒末日组织要来了

许佳琪.飒甜女孩.清爽美图

家居背景